Cookie preferences
This website uses cookies, which are necessary for the technical operation of the website and are always set. Other cookies, which increase the comfort when using this website, are used for direct advertising or to facilitate interaction with other websites and social networks, are only set with your consent.
Configuration
Technically required
These cookies are necessary for the basic functions of the shop.
"Allow all cookies" cookie
"Decline all cookies" cookie
CSRF token
Cookie preferences
Currency change
Customer recognition
Customer-specific caching
Individual prices
Selected shop
Session
Comfort functions
These cookies are used to make the shopping experience even more appealing, for example for the recognition of the visitor.
Gross / Net price switch
Wish list
Statistics & Tracking
Affiliate program
Track device being used
Picture not similar. Cutting tools will be delivered wihout insets.
Information on product safety:
Only suitable for technically experienced users who are familiar with the product and for the intended purpose. Improper use can lead to damage and injuries.
✔ We are here for you: +49 6721 / 994167
✔ Mo. bis Fr. 08:00 am - 16:30 pm
✔ Your family business for 31 years
3-jaw power chuck series NB-200A
- Order number: T9-NB-206A05
- EAN: 4049794002360
- Shipping weight: 14,500 kg
- Purchase steps: 1
- Minimum order: 1
3-jaw power chuck with large through-bore, series NB-200A.
power chuck according to DIN... more
Product information "3-jaw power chuck series NB-200A"
3-jaw power chuck with large through-bore, series NB-200A.
- power chuck according to DIN 55026.
- jaws with 1.5 x 60° gear teeth (Type V224 with 3.0 x 60°) compatible with Kitagawa BB200
- all wear parts hardened and ground for high concentricity and long life
- lathe chuck with grease nipple in each base jaw
- power chucks incl. 1 set each of basic and soft top jaws, draw tube adapter blank and fixing screws
Product features *
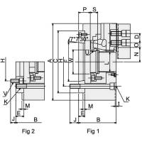
| Series: | NB-200A |
| Ø [mm]: | 170 |
| Through-hole [mm]: | 52 |
| Jaw stroke [mm]: | 5.4, 6 |
| Plunger stroke [mm]: | 13 |
| Max. draw bar pull force (kN): | 22 |
| Max. clamping force [kN]: | 57 |
| Max. operating pressure [kN]: | 18.4 |
| Matching hard jaws: | HJ06 |
| Matching soft jaws: | HC06 |
| Matching cylinder: | M1552 |
| RPM max. [RPM]: | 6,000 |
| A [mm]: | 170, 304 |
| B [mm]: | 97, 118 |
| C [mm]: | 140 |
| D [mm]: | 20 |
| E [mm]: | 22 |
| F [mm]: | 82.563 |
| G [mm]: | 116 |
| H [mm]: | 104.78 |
| J [mm]: | 14.5, 16 |
| K: | 6 x M10 |
| L [mm]: | 52 |
| M [mm]: | 5 |
| O max. [mm]: | 18.25, 36.25 |
| O min. [mm]: | 9.25, 12.75 |
| P max. [mm]: | 26, 30 |
| P min. [mm]: | 14, 17 |
| Q [mm]: | 2 |
| R [mm]: | 12 |
| S max: | 16 |
| T min.: | 32 |
| U max. [mm]: | M60 x 2.0 |
| V [mm]: | 3 x M6 |
| W [mm]: | 60 |
| Serration [mm]: | 1.5 x 60° |
| Net Weight [kg]: | 14.5 |
* Data according to manufacturer / All rights of technical, optical changing and mistakes reserved!
Read, write and discuss reviews... more
Customer evaluation for "3-jaw power chuck series NB-200A"
Write an evaluation
Jede Verbraucherbewertung wird vor ihrer Veröffentlichung auf ihre Echtheit überprüft, sodass sichergestellt ist, dass Bewertungen nur von Verbrauchern stammen, die die bewerteten Produkte auch tatsächlich erworben/genutzt haben.
Die Überprüfung geschieht:
• dadurch, dass die Möglichkeit einer Bewertungsabgabe von einer vorherigen Anmeldung in einem registrierten Kundenkonto abhängig gemacht wird, von dem aus ein Kauf getätigt wurde
• durch Übermittlung individualisierter Links an Verbraucher nach Abschluss einer Online-Bestellung, die zu einem Online-Bewertungsformular führen und die sicherstellen, dass der Zugang zur Bewertungsfunktion nur solchen Verbrauchern gewährt wird, die ein Produkt auch tatsächlich erworben haben Die Überprüfung geschieht [Zutreffendes auswählen] • dadurch, dass die Möglichkeit einer Bewertungsabgabe von einer vorherigen Anmeldung in einem registrierten Kundenkonto abhängig gemacht wird, von dem aus ein Kauf getätigt wurde • durch Übermittlung individualisierter Links an Verbraucher nach Abschluss einer Online-Bestellung, die zu einem Online-Bewertungsformular führen und die sicherstellen, dass der Zugang zur Bewertungsfunktion nur solchen Verbrauchern gewährt wird, die ein Produkt auch tatsächlich erworben haben
Die Überprüfung geschieht:
• dadurch, dass die Möglichkeit einer Bewertungsabgabe von einer vorherigen Anmeldung in einem registrierten Kundenkonto abhängig gemacht wird, von dem aus ein Kauf getätigt wurde
• durch Übermittlung individualisierter Links an Verbraucher nach Abschluss einer Online-Bestellung, die zu einem Online-Bewertungsformular führen und die sicherstellen, dass der Zugang zur Bewertungsfunktion nur solchen Verbrauchern gewährt wird, die ein Produkt auch tatsächlich erworben haben Die Überprüfung geschieht [Zutreffendes auswählen] • dadurch, dass die Möglichkeit einer Bewertungsabgabe von einer vorherigen Anmeldung in einem registrierten Kundenkonto abhängig gemacht wird, von dem aus ein Kauf getätigt wurde • durch Übermittlung individualisierter Links an Verbraucher nach Abschluss einer Online-Bestellung, die zu einem Online-Bewertungsformular führen und die sicherstellen, dass der Zugang zur Bewertungsfunktion nur solchen Verbrauchern gewährt wird, die ein Produkt auch tatsächlich erworben haben
4 x in stock
Variant available
2 x in stock
Variant available
82 x in stock
Variant available
Variant available
100+ in stock
82 x in stock
Variant available
Variant available
Variant available
Variant available
100+ in stock
47 x in stock
27 x in stock
100+ in stock
8 x in stock
Variant available
2 x in stock
Variant available
Variant available
1 x in stock
Variant available
2 x in stock
Variant available
4 x in stock
